今日头条
最新规划公布!四季芳园、集美花园等30个老旧小区改造在即!
最近,厦门各区"两会"陆续落幕,各区纷纷晒出2020成绩单,并公布最新规划。
到2025年,思明区将力争地区生产总值达到3100亿元,财政总收入480亿元,新增国家高新技术企业300家,产业能级、核心竞争力实现双跃升。
湖里区计划2021年,力争上半年完成东部旧村整村拆除工作,并开工建设古地石等11个安置房和钟宅、江村等2个社区发展用地项目。同时,继续完善“大城管”六大体系的体制机制建设,建设“友好型”城区。在教育上,明年湖里区将开办湖里实验学校和穆厝幼儿园等3所幼儿园,新增学位3120个。加快禾山中学二期、金尚学校建设。力促五缘湾北片区配套幼儿园等3个项目开工。
集美区提出,2021年,将加快推进杏林老工业区城市更新,启动四季芳园、集美花园等30个老旧小区改造。加大轨道交通、轨道平衡用地等征收力度。
2021年,同安区将力促环东海域医院、同安一中滨海校区高中部等民生配套项目建成投用,加快打造滨海浪漫线经济产业带。围绕九大产业链群,全力大招商招大商,力争落地高能级项目不低于40个。教育上,加快建设28个项目,建成7所学校,深化“名校跨岛”。医疗方面,促成环东海域医院运营,加快福建中医药大学研究生科教综合楼、莲花卫生院等项目建设,推动同安医疗水平迈向新台阶。致力打造产城融合示范区、未来科技城核心区、乡村振兴样板区、生态人文名胜区和金砖未来创新基地。本地新闻
1
首批!国家文化和旅游消费示范城市和试点城市,厦门入选!
据媒体报道,29日,文化和旅游部公布了第一批国家文化和旅游消费示范城市和试点城市名单,厦门榜上有名。
2
总投资超150亿!15个集成电路重大项目落户海沧!
12月28日,海沧区举行半导体产业基地封顶暨重大项目签约仪式,总投资超150亿元的15个重大项目落户海沧,达产后年产值将超250亿元,标志着海沧初步形成了“以产品导向的特色工艺晶圆制造、先进封装为发展重点”的产业链布局,并具有差异化优势,对进一步提升中国半导体集成电路产业竞争力,探索区域产业发展模式具有里程碑的意义。
3
最高7.1万/㎡! 翔安南部新城661套住宅获批
2020XP04建发书香府邸一期(1号楼,2号楼,3号楼,5-1号楼,5号楼,地下室)获批预售!该项目位于翔安区南部新城片区洪钟大道与城场路交叉口东北侧(D19地块),此次获批预售594套,面积37707.22㎡,其中获批预售住宅277套,面积26754.5㎡,复式房源241套,平层房源36套。
价格方面,平层预售价格为38538-43688元/平,主力户型78-98平。复式预售价40808-53177元/平,主力户型以145平。
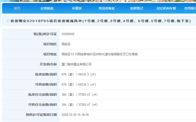
首创翔安X2019P05项目首创禧瑞风华(1号楼,2号楼,3号楼,4号楼、6号楼,5号楼,7号楼,地下室)获批预售!该项目位于翔安区13-15翔安新城片区洪钟大道与城场路交叉口东南侧,此次获批预售876套,面积56534.3㎡,其中获批预售住宅384套,面积 37283.47㎡。
平层预售价格34507-40229元/平,主力户型29-85平。复式预售价46588-70727元/平,主力户型144-155平。
楼市热点
1
中国社科院连续7年预测楼市:2021年房价上涨约5%
中国社科院财经战略研究院发布《中国住房发展报告(2020-2021)》,对明年楼市作出五大预测:第一,2021年全国房价平均上涨5%左右;第二,商品住房销售面积同比增幅可能将保持正增长,并创历史新高;第三,房地产投资速度将会有所下降,持续保持在7%左右;第四,中心城市、都市圈和城市群复苏较好甚至出现过热,其他城市复苏较慢,部分城市甚至陷入衰退,分化可能有所扩大;第五,市场风险有望进一步下降,但仍存在大起大落的风险。
2
专家谈“人口断崖”:30年间少生1.5亿人,未来住房需求或收缩
清华大学第40届“中国与世界经济论坛”上,中国社科院财经院综合经济研究部副主任、清华大学ACCEPT研究院研究员冯煦明指出,中国存在着“人口世代断崖”的问题,中国在三十年间少生了1.5亿人。这种剧烈的“人口世代断崖”将带来广泛影响。未来,一些区域和城市的住房需求可能明显收缩,尤其是在微观层面体现为“4-2-1”家庭结构的地区,将出现住房供需结构性失衡。
12月30日厦门二手住宅223套
2020年12月30日,厦门二手房成交275套,成交面积27821㎡;其中二手住宅成交223套,成交面积22076㎡。















闽公网安备 35020302035470号
最新评论