今日头条
829套!最低预售价2.9万/㎡,翔安、海沧两大楼盘领出预售证!
海晟·大学府预售获批!该项目位于翔安区,此次获批预售共1358套,面积共达99887.18㎡,其中获批预售住宅共614套,面积共73849.01㎡。
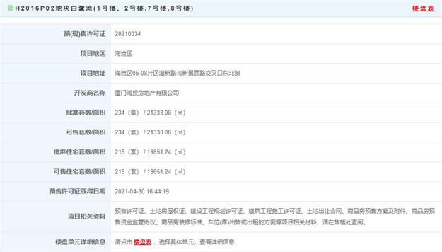
此外,白鹭湾预售也获批!该项目位于海沧区,此次获批预售共234套,面积共达21333.08㎡,其中获批预售住宅共215套,面积共19651.24㎡。
本地新闻
1
同安五显中学扩建!预计明年6月底完成!
据了解,五显中学自从去年12月动工建设以来,各项工作都按着序时进度有力推进。目前已完成地下室土方开挖及基坑支护工作,正在进行地下室垫层浇筑及抗浮锚杆施工项目计划于今年年底完成主体结构封顶,力争明年六月份完成预验收。
五显中学现有初中9个教学班,高中30个教学班。该扩建工程总投资约1亿元,总建筑面积1万9450平方米,其中包括地上建筑面积1万2300平方米及地下室建筑面积7150平方米。项目将建设2栋普通教学楼、1栋专业教学楼及1栋集报告厅、篮球馆、体育活动室为一体的建筑。投用后,可为学校新增38个教室。
2
厦门安居集团今年拟交付5个租赁住房项目 新增房源上万套
据了解,今年安居集团还将新增交付租赁型房源5个项目10833套,为今年底和明年扩大供给打下基础。
拟交付的5个项目,岛内3个、岛外2个。其中岛内项目两个为公共租赁房项目,均拟于10月前竣工——仁和公寓共将建设房源1993套;湖边公寓共将建设1240套,将作为软件园二期产业园区的配套项目。另一个为市场化租赁住房项目,即林边公寓,将建设696套房源,拟于年底竣工。
岛外两个项目均为公共租赁房项目,均拟于10月前投用,分别为雍厝项目(共建设3120套房源)、官浔项目(共建设3784套房源)。(厦门日报)
3
“五一”假日期间,临时开通环东海域旅游专线!
为展现环东海域滨海旅游浪漫线魅力景观,接驳BRT快速公交嘉庚体育馆站、凤林站,方便市民、游客前往下潭尾湿地公园游玩,5月1日-5月5日,临时开通环东海域旅游专线(下潭尾湿地公园—嘉庚体育馆),具体如下:
楼市热点
1
上海土地市场重大变化:5月发布首批宅地集中出让公告,出台“限价竞价”新规
上观新闻:上海将启动全市第一批住宅用地集中出让,同时出台全新的商品住房用地出让“限价竞价”规则。5月第三周发布上海今年第一批住房用地集中出让公告,第二批住宅用地将在今年8至9月集中出让,第三批将在10至11月集中出让。据悉,上海今年全年住房用地计划供应量将持续增加,同时将进一步加大郊区轨道交通站点周边,以及嘉定、青浦、松江、奉贤、南汇五个新城供应力度。
2
嘉兴楼市调控再升级:热盘需摇号,本地户超过三套房不得再购
浙江嘉兴市再次加码房地产调控政策,措施包括分批集中出让住宅用地、推行“公证摇号”、进一步严格商品住房限购管理、加强商品住房销售价格管理等。
4月30日厦门二手住宅成交246套
2021年4月30日,厦门二手房成交297套,成交面积25445㎡;其中二手住宅成交246套,成交面积23278㎡














闽公网安备 35020302035470号
最新评论