最新进展!福厦高铁开始铺轨!预计明年通车!
昨日,我国首条跨海高铁福厦高铁正式展开铺轨作业,项目朝“2023年通车”目标更近了一步。
昨日上午,福厦高铁莆田站施工现场,在施工人员有序调度下,铺轨机随着预设轨道缓慢移动,全线第一组500米钢轨平稳落地、完成铺设,标志着项目建设全面迈入线上施工阶段。
为确保工程安全、优质、高效完成,施工期间,建设者率先投用新技术、新工艺——运用目前国内最先进的铺架综合指挥调度系统,通过将无线网络传输、定位导航等集成到调度系统中,实现调度指挥智能化、信息化、可视化管理,解决了道岔开向自动监测与预警、长大隧道通信、股道自动识别与车辆定位等技术难题;在国内首次采用本邻两线设备铺轨的作业模式,比传统铺轨机组提高了60%的作业效率,为保障福厦高铁如期开通打下了坚实基础。
福厦高铁建成通车后,福州、厦门将实现“一小时生活圈”,厦门、漳州、泉州等地形成“半小时交通圈”,厦门到北京的铁路最快旅行时间将由现在的11个多小时缩短至9小时。同时,东南沿海快速铁路网络进一步完善,也将推动海上丝绸之路与长三角、大湾区城市群间的互联互通,为福州、厦漳泉两大城市区的加速崛起、促进沿线区域经济社会发展注入新动能。
【项目点击】
我国首条跨海高铁
福厦高铁是我国“八纵八横”高速铁路网中沿海大通道重要组成部分,也是我国首条跨海高铁。项目北起福州,途经莆田、泉州,南至厦门和漳州,分跨湄洲湾、泉州湾、安海湾,全线共设85座桥梁、33座隧道;线路北端衔接合福铁路、温福铁路,南端衔接厦深铁路、龙厦铁路,正线全长277.42公里,设计时速350公里,沿线经泉州南、厦门北、漳州等8座客运车站。(厦门日报)
海沧东坑安居房二期报建,拟建1栋24层约92套安置房
近日,东坑安居房二期报建信息公布。
项目位于海沧石塘村东坑社,南侧为东坑安置房,东侧为大屏山郊野公园,北侧为海沧大桥引桥。拟建1栋24层安置房。约92套,地上建筑面积约1.10万平方米,地下二层,建筑面积约0.45万平方米。最终指标以规划审批为准。根据海沧湾新城指挥部2月19日会议要求,需各部门支持,全力推进项目前期工作。
项目总投资约7740万元,计划今年9月开工,预计2023年12月建成。
厦门顺利推进省重点在建项目!46个项目完成投资57.4亿
近日,记者从市发展改革委获悉,今年1-2月,厦门市125个省重点在建项目计划投资115.6亿元,实际完成投资154.7亿元,超同期计划投资39.1亿元,完成年度计划投资的21.1%,超序时进度4.4个百分点,各行业全力奋战取得“开门红”。
从各行业完成情况来看——
厦门时代锂离子电池生产基地项目(一期)等46个产业项目,实际完成投资57.4亿元,超同期计划投资20.7亿元,完成年度计划19.8%;
第二东通道等65个基础设施项目,实际完成投资88.1亿元,超同期计划投资16.8亿元,完成年度计划22.2%;
同安第二外国语学校高中部等14个社会事业项目,实际完成投资9.2亿元,超同期计划投资1.6亿元,完成年度计划20.4%。
位于海沧区九龙江入海口旁的厦钨新能源海璟生产基地春节期间“不打烊”,一线员工持续加班赶工。
1-2月,全市125个省重点在建项目计划开工7个,实际开工11个。其中,生物制品科学与技术福建省创新实验室、翔安区市政排水管网正本清源改造、新324国道(翔安段)提升改造工程、厦门轨道交通3号线南延段工程4个项目较原计划提前开工。
市发改委坚决落实市委市政府“开门红”工作部署,牵头各项目责任单位全力保障省重点项目扎实推进,奋战“开门红”工作目标。(投资厦门)
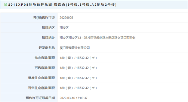
30244元/㎡起!首开龙湖·璟宸府180套住宅获批预售
2016XP08地块首开龙湖·璟宸府(9号楼,8号楼,A2地块2号楼)获批预售,项目位于翔安区13-12B片区望嶝北路与新店路交叉口西南侧。此次获批预售住宅180套,面积18732.42㎡。
其中36套为叠墅,最低预售价格38989.88元/㎡,最高预售价格70144.26元/㎡,主力户型为107-135平米。
144套为复式房源,最低预售价格30244.44元/㎡,最高预售价格33950.18元/㎡,主力户型为92-120平米。
统计局:2月,一线城市新建商品住宅销售价格环比上涨0.5%
2月,一线城市新建商品住宅销售价格环比上涨0.5%,同比上涨4.4%;一线城市二手住宅环比上涨0.5%,同比上涨3.5%。二线城市新建商品住宅销售价格环比持平,同比上涨2.1%。三线城市新建商品住宅销售价格环比下降0.3%,同比下降0.1%。(统计局)
合肥:首批集中供地17宗涉宅地块揽金约149.78亿元
3月17日,合肥市今年第一批集中供地拉开序幕,当日19宗地块全部顺利出让,除2宗保障性租赁住房用地外的17宗涉宅地块揽金约149.78亿元。上述17宗地块均溢价成交,其中有15宗竞价“触顶”进入竞报高品质住宅方案阶段。(新京报)
3月17日厦门二手住宅成交80套
2022年3月17日,厦门二手房成交共93套,成交面积9228㎡;其中二手住宅成交80套,成交面积7424㎡。














闽公网安备 35020302035470号
最新评论