突发!
剩余215套可售住宅产权全被冻结!
楼盘停工!交付逾期!
福州又一超级大盘遭曝光!
215套可售住宅产权全遭冻结!停工!
福州又一超级大盘遭遇窘境
从福州市不动产登记和交易中心获悉,近日,福州香山海湾城,剩余215套可售住宅+58套商铺产权全被冻结!
地块推广名为中庚香海湾,位于马尾区琅岐岛国际旅游度假区,是中庚香海世界的三期项目。
该盘备案住宅共1473套,截至日前已售1258套,去化超85%。
据悉,中庚香海世界分3个地块开发(商住用地),总计504亩,计容总建筑面积84万平方米,规划有高层、叠拼、联排和商业等产品,还配备了五星级酒店和学校教育等业态,原定2021年6月交房。
然而,临近交房日,2021年5月,业主等到的却是中庚香海湾楼盘停工的消息:该项目建设单位因流动资金困难,导致近期施工停滞。
业主称,楼盘施工突然停已有半年时间,图源第一帮帮团
今年3月,距离原定交房时间已经过去了9个多月,有网友爆料,该盘现场施工人数寥寥无几。
事实上,今年以来,不少业主就【香海湾停工、房子逾期】等问题进行投诉。
而据省信访局最新回复:项目停工以来,马尾区zf多次召开会议,召集各方督促解决,并组织相关人员跟进项目建设,但因开发商资金无法全部到位,一再推迟完工。
今年春节后,马尾区住建局多次督促开发商复工建设,目前工地已有工人进场施工,剩余的永久用电、铝合金、绿化等三个施工项目均已按工序进场施工。
目前开发商正在筹措资金,今年1月至今已下拨2000多万工程款用于该项目施工,后期还将加快施工进度,争取10月交付。
交房一拖再拖
福州中庚旗下多盘遭投诉
除了香海湾,查看领导留言板可以发现,中庚在罗源、连江的楼盘也传出交付逾期的消息。
中庚香悦府
网友:本人在中庚香悦府购买一套房作为孩子上学用,可合同的交房期去年2021年9月中旬就到了,到目前为止却迟迟未有交房通知!却频频传出烂尾的消息……
罗源县住建局:由于企业资金不足问题,工程进展缓慢。县zf已在协调处理中,将继续督促企业筹措资金及加快项目工程进度,预计一期工程将于今年内交付。
中庚香山小镇二期
网友:中庚香山小镇二期5-8号楼,销售口头承诺21年上半年交房,后合同重新约定21年12月31日交房,22年初发出承诺书7月交房,到3月三月份工程还没有落架,工地也只有几个工人,7月交房进度实在赶来不及。
官方:经了解,罗源礼昌房地产开发有限公司承诺中庚香山小镇二期项目5#、6#、7#、8#楼,将于2022年8月31日前完成验收、交房。
中庚香山小镇三期
网友:合同中约定于2022年5月31日交房,但是目前现场施工无任何实质性进度,无法保证交房。
罗源县住建局:中庚·香山小镇三期项目13#、15#、16#、17#楼主体建筑已落架,外立面正在建设,交房时间、违约赔付,双方应依据签订的《商品房买卖合同》约定执行。
涉足房地产开发已有25年
中庚集团出售物管股权
1997年,32岁的梁衍锋在香港注册中庚集团,至此,中庚集团涉足房地产开发业务已有25年。
早年间,中庚集团深耕福州,陆续开发有九彩公寓、香榭丽都、香江明珠、香江红海园、香江枫景、中庚国际华府、香开新城、中庚红鼎天下等30余个项目,住宅以“香系”和“中庚系”两大系列为主。
一直以来,中庚集团在福州属于稳扎稳打类型的企业,投资策略较为稳健。但自去年4月份起,中庚集团开始传出资金链紧张的负面。
如今过了一年,中庚集团仍是债务缠身,形势不容乐观。
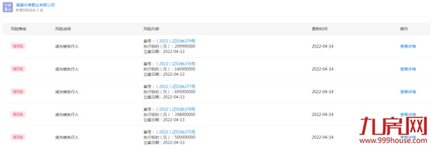
据悉,单是4月13日,福建中庚置业有限公司就新增5条被执行信息,被执行金额合计194299万元。
为了套现,今年2月中庚出售物管股权:中庚置业转让福建中庚物管90%股权,庚享科技服务接盘。
更为遗憾的是,与资金和偿债压力相对的,是接连下降的销售金额。
据克而瑞研究中心发布的数据,2018——2020年,中庚集团销售金额(操盘金额)分别为232.1亿元、203.7亿元、143.7亿元。
而2021年,中庚直接跌出销售TOP200榜,也就是说,去年中庚年度销售额已经低于第200名东亚新华的61.2亿。
那么,中庚能否在这轮行业大洗牌下挺住,福州楼盘能否顺利交付?小伙伴们怎么看,欢迎评论留言~
























闽公网安备 35020302035470号
最新评论