厦门地产情报站
关注
每日及时推送厦门人居楼市、新闻资讯、市场动态、为购房者提供服务和参考!
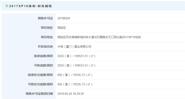
2017XP10保利·和光城悦领出预售!该项目位于翔安区环东海域新城洪钟大道与石厝路交叉口西北侧2017XP10地块,此次获批预售2025套,面积达109531.51㎡,其中获批预售住宅892套,面积70335.73㎡。
价格方面,最低预售34067元/㎡,最高预售42668元/㎡,主力户型46-111㎡。
05月03日
03月30日
08月28日
08月08日


【扫一扫关注】


【扫一扫关注】


【扫一扫关注】
最新评论