操作提示操作提示

 
  厦门市
【切换城市】

最低2.5万/㎡!最高2.9万/㎡!翔安一楼盘119套住宅获批预售!

2020-09-29 16:41:52   九房网(999house.com)  

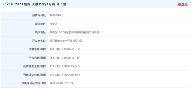
旭辉·天樾公馆(1号楼)获批预售!该项目位于翔安区,此次获批预售共254套,面积共达15690.45㎡,其中获批预售住宅共119套,面积共11064.69㎡。


X2017P06旭辉·天樾公馆(1号楼)获批预售!——九房网


价格方面,高层最低预售价24921元/㎡,最高预售价29035元/㎡。


最低2.5万/㎡!最高2.9万/㎡!翔安一楼盘119套住宅获批预售!——九房网


最低2.5万/㎡!最高2.9万/㎡!翔安一楼盘119套住宅获批预售!——九房网


  • 浏览(1331)
  • 手机端
    分享
  • 更多
全程免费

全程免费 全程免费 路线自选 路线自选看房团报名

姓      名:
手      机:
意向楼盘:
 

共有0条评论网友评论

最新评论

大家都在关注

  • 厦门地产情报站

    关注
    每日及时推送厦门人居楼市、新闻资讯、市场动态、为购房者提供服务和参考!

    【扫一扫关注】

  • 漳州九房网

    关注
    及时推送漳州人居楼市、新闻资讯、市场动态,为购房者提供服务和参考。漳州买房,首选九房!更多详情请登:漳州九房网~

    【扫一扫关注】

  • 泉州九房网

    关注
    九房网(订阅号)为您提供实时的泉州房产资讯、泉州买房信息、泉州新房楼盘等资料,让你享受更多购房优惠。泉州买房,首选九房网!

    【扫一扫关注】

  • 畅所欲言聊房产,快来关注吧!