今日头条
最高4.2万/平!最低3.5万/平!集美一楼盘352套住宅预售获批
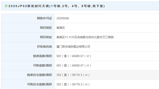
2020JP02联发时代天境(1号楼,2号、4号、5号楼,地下室)获批预售!该项目位于集美区11-11片区杏锦路与杏林北路交叉口南侧,此次获批预售581套,面积45680.07㎡,其中获批预售住宅352套,面积36719.3㎡。
价格方面,最高预售42340元/平,最低预售35340元/平,主力户型86-141平。
本地新闻
1
1-9月厦门415个市重点项目完成投资1194亿 完成率143%
2020年1-9月厦门市重点项目投资完成情况
1-9月,全市415个市重点项目计划投资834.4亿元,实际完成投资1194.2亿元,超359.8亿元,完成序时计划143.1%,完成年度计划93.9%。
按领域看,各领域均超计划完成投资任务。
各领域投资完成情况
单位:亿元
2 五缘湾片区下忠安置房招标 用地近万平建安费近8.5亿
近日下忠安置房(监理)招标,项目位于厦门市湖里区云顶北路以东、钟宅西三路以西,枋湖北二路以南,枋湖南路以北,主要建设内容为安置住房及其配套用房,建筑安装工程费约84998.68万元。
项目由06-08A32、06-08A51两个地块及两地块之间地下连通通道组成,总用地面积约39938.886平,总建筑面积约225000平。其中:
(1)06-08A32地块:用地面积约23799.852平,总建筑面积约116964.82平,最高层数为地上27层,地下2层,建筑最大高度87.4米。
(2)06-08A51地块:用地面积约15338.748平,总建筑面积约107449.18平,最高层数为地上28层,地下2层,建筑最大高度92.5米。
(3)06-08A32、06-08A51两个地块之间地下连通通道:用地面积约800.286平,总建筑面积约586平,地下2层。
3
思明滨海小学二期扩建 总建面11473平总投约4736万
近日,滨海小学二期扩建(施工)招标,该项目位于思明区黄厝村塔头社328号,总投资概算为4736.22万元。
项目新建总建筑面积约5980平,其中3#楼地上4层,檐口高度15.9米;4#楼一层地下室,地上4层,檐口高度15.9米;室外改造面积约16400平,扩建后总建筑面积11473平,建筑占地面积3005平。
楼市热点
1
深圳集中挂牌出让8宗居住用地,起始总价294.42亿元
10月23日,深圳市公共资源交易平台显示,深圳将一次性挂牌出让8宗住宅、商业用地,总出让面积732220.09平方米,总起拍价共计294.42亿元,成为年内规模最大的一次土地出让。
按照计划,上述8宗地块将集中于11月23日公开出让。从土地使用权出让公告上可以看到,此次出让的8宗地块分别位于宝安区、龙华区、坪山区及光明区。其中,光明区、坪山区、龙华区以及宝安西乡的7宗地块的建设类型均为普通商品房,且均采用“双限双竞”的办法以挂牌方式出让;宝安沙井地块的建设类型为可售型人才住房,不设无偿移交的只租不售人才住房初始配建面积。
值得一提的是,此次出让的8宗地项目建成后,均设置了最高销售价格,且明确商品住房取得套房不动产权证之日起3年内不得转让。
2
南京:出租“商改租”“工改租”住房用于居住,享税收优惠
10月22日,国家税务总局南京市税务局、南京市住房保障和房产局下发《关于进一步支持住房租赁市场平稳健康发展的公告》(以下简称《公告》),要求严格落实房屋租赁合同网签备案制度。住房租赁企业或个人应在租赁合同签订后30日内,向房屋租赁管理部门办理租赁合同网签备案,并依据备案的房屋租赁合同办理纳税申报,享受相关税收优惠政策。
《公告》提及,企事业单位、社会团体以及其他组织向专业化规模化住房租赁企业出租住房、或出租经批准的“商改租”“工改租”住房,用于居住的,房产税暂减按4%的税率征收。个人支付的符合条件的住房租金,按规定在计算个人所得税时扣除。
所谓专业化、规模化住房租赁企业,是指持有或经营租赁住房不低于1000套(间)或者建筑面积不低于3万平方米的住房租赁企业。企业持有或者经营租赁住房套(间)数或者面积,根据企业在政府租赁平台登记备案的上一季度的平均值确定。
住房租赁企业向个人出租住房时,对于小规模纳税人,按照5%的征收率减按1.5%计算缴纳应纳税额;对于一般纳税人,可以选择适用增值税简易计税方法,按照5%的征收率减按1.5%计算缴纳应纳税额。
10月23日厦门二手住宅成交197套 2020年10月23日,厦门二手房成交229套,成交面积20620㎡;其中二手住宅成交197套,成交面积19179㎡。














闽公网安备 35020302035470号
最新评论